Retour à toutes les sections du moment d’inertie polaire
Calculer moment d’inertie polaire
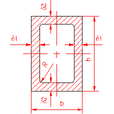
Section 12

Moment d’inertie polaire
On l’appelle le moment d’inertie d’un système de points matériels par rapport à un plan, un axe ou un pôle, la somme des produits entre les masses des particules qui composent le système et le carré des distances de ces particules au plan, axe ou pôle considéré :

Par rapport à un référentiel cartésien on a :
- moments d’inertie polaires :

Le moment d’inertie polaire peut être calculé comme :
- la demi-somme des moments d’inertie axiaux par rapport à trois axes rectangulaires passant par ce point :

- la somme des moments d’inertie planaires :

- la somme des moments d’inertie par rapport à un plan et un axe normal à ce plan :

Id = Moment d’inertie polaire (cm4)
Wd = Module de résistance à la torsion (cm3)

Suggestion pour le moment d’inertie polaire. Envoyez-nous votre suggestion pour améliorer ce chapitre.
