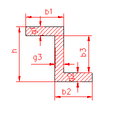
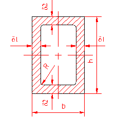
Moment d’inertie polaire

Calculer le moment d’inertie polaire – 25 sections disponibles

Sélectionnez la section souhaitée pour calculer le moment d’inertie polaire.

Éclairage classique

Éclairage Fonctionnel

Éclairage Residentiel

Projecteurs